
放空消音器(消音器系列 SILENCER SERIES)
本公司生產的XSQ系列消聲器可滿足各種參數鍋爐向空排汽、安全閥排汽及鍋爐送風機進口的降噪消聲要求,同時也廣泛用于石油、化工、冶金、紡織等工業的鍋爐蒸汽排放及其他氣體消聲排放,使之達到工業企業噪聲標準要求。其特點如下:
1、采用多級消聲,消聲量大,排汽消聲器35~40分貝;放空消聲器可達25~30分貝。
2、體積小,重量輕,安裝簡便,易維護。
3、XSO系列,筒體采用優質不銹鋼或碳鋼,具有足夠高的強度和耐腐蝕性。
4、能單獨固定、吸收排汽管道的垂直及水平熱位移,使排汽管道不因消聲器的安裝而受到額外的荷載,保證排汽管道在熱能工作下的安全性。
放空消音器(XSO-F型) Vent silencer

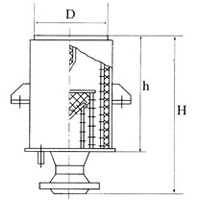
放空消音器“尺寸表” Dimension table:
DN | 50 | 80 | 100 | 150 | 200 | 250 | 300 | 350 | 400 |
H | 1548 | 1722 | 2202 | 2260 | 2312 | 2418 | 2520 | 2578 | 2640 |
h | 1300 | 1450 | 1900 | 1950 | 2000 | 2100 | 2200 | 2250 | 2300 |
D | 600 | 700 | 800 | 850 | 900 | 950 | 1000 | 1050 | 1100 |
放空消音器“相關信息”
結合空氣放空放空消音器的音學和流體動力學分析得知:增加傳遞損失和減小壓力損失是一對矛盾體;
Combined with air muffler sound science and fluid dynamics analysis that increase the transmission loss and pressure loss is a pair of contradictions;
如何解決這對矛盾關系到空氣放空放空消音器的消聲效果,通常我們采用對局部結構優化達到有效地解決消聲和設備功率損耗的矛盾,增加消聲性能的同時盡可能減少設備功耗。
How to solve this contradiction to the air vent of muffler, we usually use the local structure optimization to effectively solve the contradiction of silencing and the equipment power loss, increase the anechoic performance at the same time as much as possible to reduce the power consumption of devices.
采用強大的有限元分析軟件,我們可以方便地仿真分析不同結構形式的空氣放空放空消音器的音學及流體性能。
Using powerful finite element analysis software, we can easily simulation analysis of different structural forms of air muffler sound science and fluid properties.
通過對抗性放空放空消音器進行流體動力學及音學分析,我們能夠直觀地反映出結構對消聲效果的影響和結構的改變引起壓力損失的變化。
Fluid dynamics and acoustics analysis through resistance muffler, we can intuitively reflect the structure of the silencing effect and structural changes caused by pressure loss.
分析結果對內部結構的優化提供了有意義的建議,通過仿真可以快速方便地觀察設計的效果,減少產品開發時間和成本。
The analysis results to optimize the internal structure provides a meaningful suggestions through simulation can quickly and easily observe the effect of the design, reduce the product development time and cost.
插入損失是裝置放空放空消音器前后自噪音源向外輻射噪音的音功率級之差。
Insertion loss of muffler is a device before and after noise source radiated noise sound power level difference.
如果裝置放空放空消音器前后音場布情況近似保持不變,那么插入損失是在給定測點處,裝置放空消音器前后音壓級之差.
If the device muffler around the sound field distribution approximately unchanged, then the insertion loss is measured at points of a given sound pressure level, difference before and after the device muffler.
插入損失只反映整個系統(包括放空消音器、管道及噪音源)在裝置放空消音器前后音學性能的變化,不能直接反映放空消音器本身的消聲性能。
Insertion loss only reflect the whole system (including the muffler, pipeline and noise source) changes in the device before and after the performance of the muffler sound, cannot directly reflect the muffler performance itself.
插入損失比較容易測量,且能反映裝置放空消音器后的消聲效果,所以現場測量中被廣泛采用。
Insertion loss is relatively easy to measure, and can reflect the silencing effect device rear muffler, so the field measurement is widely used in.
磁性浮子液位計和分析工業熱電偶安裝注意事項的特點
2016-08-02排氣消聲器創造理想的環境,安裝說明要知道
2017-03-23蒸汽消聲器,以避免蒸氣和液體的振動和噪音
2016-08-02風機消音器達到良好的消音效果
2017-03-23閑聊消聲器微穿孔消聲器
2016-05-31快速接頭全面了解
2016-06-09浮動出油裝置意味著好油的質量檢查
2016-06-29如何判斷好壞消聲裝置
2016-05-31日常維護檢查磁性浮子液位計非常重要
2016-08-02